1
/
of
5
A161274 Spindle Right or Left Hand Fits Case 2090 2290 2390 2394 2590 Tractors
A161274 Spindle Right or Left Hand Fits Case 2090 2290 2390 2394 2590 Tractors
Regular price
£207.00 GBP
Regular price
Sale price
£207.00 GBP
Unit price
/
per
Shipping calculated at checkout.
Couldn't load pickup availability
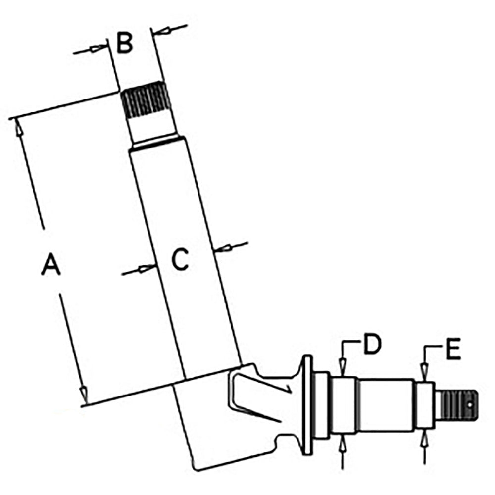
One New Aftermarket Replacement Spindle Fits Case and David Brown Tractor Models 2090 (Late), 2290, 2390, 2394, 2590, 2594.
Tech Info:
Replaces Part Number: A161274
Tech Info:
A - 12.500"
B - 1.725"
C - 2.234"
D - 2.165"
E - 1.780"
Replaces Part Number: A161274
Models This Part Fits:
2090, 2290, 2390, 2394, 2590, 2594Reference Numbers:
A161274, A161274-AProduct Category:
AgricultureView More: Agriculture Replacement Parts
Product Group:
Front Axle/Steering PartsView More: Front Axle/Steering Parts Replacement Parts



