1
/
of
7
Spindle- RH/LH Fits Allis Chalmers 185 D15 180 175 D17 170 70270038
Spindle- RH/LH Fits Allis Chalmers 185 D15 180 175 D17 170 70270038
No reviews
Regular price
£159.00 GBP
Regular price
Sale price
£159.00 GBP
Unit price
/
per
Shipping calculated at checkout.
Couldn't load pickup availability
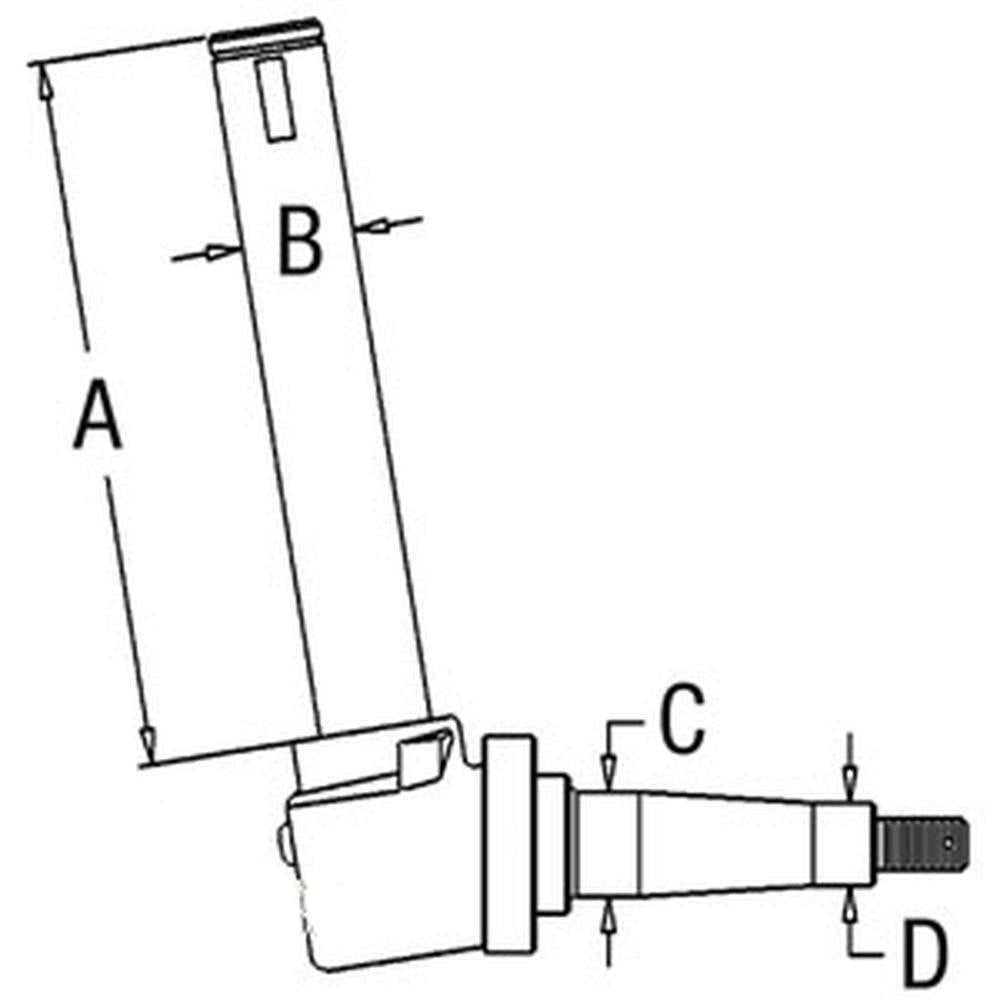
One New Replacement Spindle that fits the following Fits Allis-Chalmers Models: D15, D17, 170 LATE, 175, 180, 185.
DIMENSIONS FOR ABOVE DIAGRAM - A - 12.000", B - 1.610", C - 1.625", D - 1.187"
Replaces Part Number: 70270038
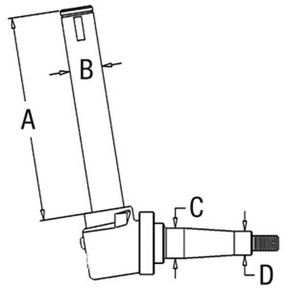
DIMENSIONS FOR ABOVE DIAGRAM - A - 12.000", B - 1.610", C - 1.625", D - 1.187"
Replaces Part Number: 70270038
Models This Part Fits:
185, D17, 175, 170, D15Reference Numbers:
270038, 70270038Product Category:
AgricultureView More: Agriculture Replacement Parts
Product Group:
Front Axle/Steering PartsView More: Front Axle/Steering Parts Replacement Parts



